多家银行试水元宇宙宁波银行申请元宇宙商标
2021年被称为元宇宙“元年”,各大互联网巨头动作频频,财大气粗的银行们也不甘落后。
1
宁波银行进军元宇宙 去年总资产破2万亿
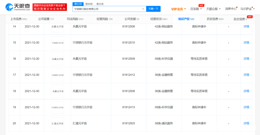
据天眼查App消息,近日,宁波银行股份有限公司(以下简称“宁波银行”)申请注册多个元宇宙相关商标,包括“宁波银行元宇宙”、“汇通元宇宙”、“永赢元宇宙”等等,国际分类为金融物管、通讯服务、科学仪器等,目前商标状态为商标申请中、等待实质审查。

而在此之前的2月9日,宁波银行上海分行已宣布迎来001 号数字人员工“小宁”,为银行客户提供各类业务咨询和办理服务。据了解,目前,小宁能回答550个以上常见业务问题,以及由此衍生的3000个以上相关业务问题;通过运营管理平台的持续运营优化,每天会新增50个以上衍生问题。

宁波银行近年来对金融科技支持力度较大。在此次公布的2021年半年报中,金融科技作为高频词汇被宁波银行提及了14次。
而宁波银行拓展元宇宙、虚拟客服等技术确实有底气。宁波银行成立于1997年4月,2007年7月在深交所上市。宁波银行2021年业绩快报显示,截至2021年末,公司总资产突破2万亿元,较上年末增长23.88%,2021年度实现归属于上市公司股东的净利润195.15亿元,较上年同期增长29.67%。2021年,该行全年实现营业收入527.21亿元,较上年同期增长28.24%;归属于上市公司股东的净利润195.15亿元, 较上年同期增长29.67%。
2
多家银行试水元宇宙 业内:需谨慎
除了宁波银行,多家银行推出了元宇宙相关产品,比较典型的就是虚拟数字人的投入和使用。
其中,光大银行推出虚拟银行员工——金融理财顾问“阳光小智”;浦发银行联手百度智能云打造金融行业首个数字人员工“小浦”。2021年12月初,江南农商银行与京东智能客服言犀曾共同合作推出VTM数字员工。去年12月,百信银行迎来首位虚拟数字员工“AIYA艾雅”,来担任AI虚拟品牌官,担负着未来银行探索者和品牌理念传播者的角色。
此外,多家银行也宣布布局元宇宙。今年1月份,江苏银行宣布开始积极布局金融元宇宙,为客户提供更加优质的金融服务体验。1月11日,中国移动通信联合会元宇宙产业委员会公布首批成员接纳名单,浙商银行位列其中。去年12月27日,在百度公司元宇宙产品“希壤”的发布会上,工商银行河北雄安分行作为首批金融机构宣布“入驻”希壤。微众银行则1月25日推出虎年数字藏品“福虎”。
此外,持牌消费金融机构也动作频频。招联消费金融在微信公众号发文宣布“正式进军元宇宙”。不过,相关内容随后被删除。
不过,从目前来看,看似炫酷的虚拟数字人,业务范围十分有限,元宇宙也处于相当早期的阶段。清华大学2021年发布的《2020—2021年元宇宙发展研究报告》显示,元宇宙产业还处于发展初期,具有新兴产业不成熟、不稳定等特征,存在诸多风险点。
作为涉及亿万客户资金安全的金融机构,银行探索数字化转型无可厚非,但在试水处于概念阶段的元宇宙时更应审慎。
经济日报援多位专家的提醒称,元宇宙对金融领域来说,目前更多的只是一个概念。元宇宙是银行业数字化转型应该关注的方向,但是不能以此为噱头进行炒作,更不能对消费者形成误导。
而在2月18日,银保监会也发布了2月18日,银保监会发布风险提示,称近期,一些不法分子蹭热点,以“元宇宙投资项目”“元宇宙链游”等名目吸收资金,涉嫌非法集资、诈骗等违法犯罪活动,提醒社会公众增强风险防范意识和识别能力,谨防上当受骗。
- 免责声明
- 世链财经作为开放的信息发布平台,所有资讯仅代表作者个人观点,与世链财经无关。如文章、图片、音频或视频出现侵权、违规及其他不当言论,请提供相关材料,发送到:2785592653@qq.com。
- 风险提示:本站所提供的资讯不代表任何投资暗示。投资有风险,入市须谨慎。
- 世链粉丝群:提供最新热点新闻,空投糖果、红包等福利,微信:juu3644。

路安



